首页
home
企业概况
about us
企业简介
组织机构
领导团队
新闻中心
news
公司新闻
行业新闻
通知公告
资质荣誉
Certificate
精品工程
project
企业文化
Business
员工风采
文体活动
视频中心
英才招聘
recruit
联系我们
contact
您当前位置:
首页
>
新闻中心
>
公司新闻 > 四川省人民医院项目机
四川省人民医院项目机房空调中标
2020-09-01 873阅读量
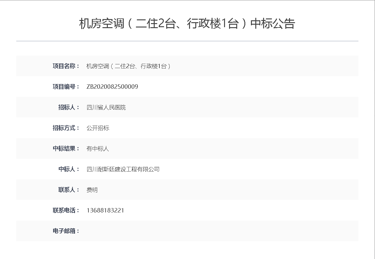
祝贺我公司四川省人民医院项目机房空调中标
上一篇:祝贺我公司四川省人民医院病理科吸顶空调项目中...
下一篇:天加公司产品培训
返回列表
首页
企业概况
新闻中心
资质荣誉
精品工程
企业文化
英才招聘
联系我们